Witam,
Czy ktoś może mi doradzić w zakresie mojego strychu, gdyż zastanawiają mnie wykonane kleszcze, a dokładniej czy potrzebne jest aż tyle w konstrukcji dachu.
Strych jak to strych jest dla mnie magazynem rzeczy aktualnie nie potrzebnych, ale gęsto rozmieszczone kleszcze utrudniają mi poruszanie się po nim.
Zastanawiam się czy nie wystarczyła by sama konstrukcja krokwiowo płatwiowa (albo zrezygnowanie z kleszczy w centrum strychu), ktoś umie to jakoś policzyć ?
Konstrukcja dachu - pytanie o kleszcze
Moderator: Redakcja e-dach.pl
Re: Konstrukcja dachu - pytanie o kleszcze
Witaj Sakre.
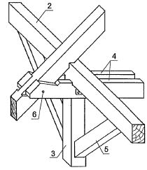
W przypadku klasycznej więźby płatwiowo-kleszczowej, kleszcze stosuje się przy słupach podpierających płatew. Słupy, kleszcze i krokwie tworzą wówczas płaszczyznę wiązarów pełnych. Natomiast w miejscach, w których nie ma słupów, nie występują kleszcze. Te wiązary nazywa się pustymi. Twój projekt przewiduje kleszcze przy wszystkich krokwiach. Dodatkowy problem polega na tym, że zaprojektowane krokwie nie są nad słupami. Jeśli wykona się to zgodnie z projektem to nie będzie można wykonać klasycznego połączenia kleszczy ze słupami i krokwiami. Ponadto widoczna jest kolizja kleszczy z mieczami.
Kleszcze powinny „obejmować” jednocześnie słupy i krokwie. Jak na rysunku poniżej, z jednym zastrzeżeniem. Nie ma potrzeby wykonywania połączenia kleszczy z krokwią na jaskółczy ogon, ponieważ osłabia to przekrój krokwi. Stosunkowo często stosuje się obecnie kleszcze pod każdą parą krokwi. Ponieważ takie rozwiązanie pełni rolę podkonstrukcji pod sufit podwieszany, a na kleszczach możliwe jest wówczas ułożenie desek i zagospodarowanie przestrzeni nad kleszczami na strych.
W Twoim przypadku nie ma potrzeby wykonywać drugiego sufitu podwieszanego pod kleszczami, ani kolejnego strychu nad kleszczami, dlatego porozmawiaj z Twoim konstruktorem i zapytaj się, czy może on zmienić projekt więźby dachowej?
Ze względów formalnych, pamiętaj też aby rysunek zamienny posiadał jego podpis. Natomiast kierownik budowy niech wpisze w dzienniku budowy, że otrzymał rysunek zamienny więźby dachowej, który stanowić będzie załącznik do dokumentacji budowy.
P.S. Analizując udostępnione przez Ciebie przekroje poprzeczne dodam jeszcze, że brakuje termoizolacji brzegowej, którą wykonuje się w formie skośnych płyt XPS na obwodzie płyty fundamentowej. Wysięg izolacji powinien być nie mniejszy niż głębokość przemarzania w danej miejscowości. Grubość termoizolacji brzegowej powinna być równa grubości termoizolacji strefy cokołowej.
Na połączeniu ściany nośnej z płytą fundamentową będzie duży liniowy mostek termiczny. Skonsultuj z projektantem zastosowanie Izomur lub pierwszej warstwy muru bloczków z betonu komórkowego.
W przypadku klasycznej więźby płatwiowo-kleszczowej, kleszcze stosuje się przy słupach podpierających płatew. Słupy, kleszcze i krokwie tworzą wówczas płaszczyznę wiązarów pełnych. Natomiast w miejscach, w których nie ma słupów, nie występują kleszcze. Te wiązary nazywa się pustymi. Twój projekt przewiduje kleszcze przy wszystkich krokwiach. Dodatkowy problem polega na tym, że zaprojektowane krokwie nie są nad słupami. Jeśli wykona się to zgodnie z projektem to nie będzie można wykonać klasycznego połączenia kleszczy ze słupami i krokwiami. Ponadto widoczna jest kolizja kleszczy z mieczami.
Kleszcze powinny „obejmować” jednocześnie słupy i krokwie. Jak na rysunku poniżej, z jednym zastrzeżeniem. Nie ma potrzeby wykonywania połączenia kleszczy z krokwią na jaskółczy ogon, ponieważ osłabia to przekrój krokwi. Stosunkowo często stosuje się obecnie kleszcze pod każdą parą krokwi. Ponieważ takie rozwiązanie pełni rolę podkonstrukcji pod sufit podwieszany, a na kleszczach możliwe jest wówczas ułożenie desek i zagospodarowanie przestrzeni nad kleszczami na strych.
W Twoim przypadku nie ma potrzeby wykonywać drugiego sufitu podwieszanego pod kleszczami, ani kolejnego strychu nad kleszczami, dlatego porozmawiaj z Twoim konstruktorem i zapytaj się, czy może on zmienić projekt więźby dachowej?
Ze względów formalnych, pamiętaj też aby rysunek zamienny posiadał jego podpis. Natomiast kierownik budowy niech wpisze w dzienniku budowy, że otrzymał rysunek zamienny więźby dachowej, który stanowić będzie załącznik do dokumentacji budowy.
P.S. Analizując udostępnione przez Ciebie przekroje poprzeczne dodam jeszcze, że brakuje termoizolacji brzegowej, którą wykonuje się w formie skośnych płyt XPS na obwodzie płyty fundamentowej. Wysięg izolacji powinien być nie mniejszy niż głębokość przemarzania w danej miejscowości. Grubość termoizolacji brzegowej powinna być równa grubości termoizolacji strefy cokołowej.
Na połączeniu ściany nośnej z płytą fundamentową będzie duży liniowy mostek termiczny. Skonsultuj z projektantem zastosowanie Izomur lub pierwszej warstwy muru bloczków z betonu komórkowego.
Re: Konstrukcja dachu - pytanie o kleszcze
jeszcze jeden rysunek
- Załączniki
-
- K3.pdf
- (171.17 KiB) Pobrany 92 razy
Re: Konstrukcja dachu - pytanie o kleszcze
Dziękuję za rzeczową odpowiedź - rozumiem że sugerujesz iż wystarczyłaby konstrukcja krokwiowo płatwiowa bez tych kleszczy ? Porozmawiam z konstruktorem.
Re: Konstrukcja dachu - pytanie o kleszcze
Źle mnie zrozumiałeś. W żadnym miejscu mojej wypowiedzi nie padło, że wystarczy więźba krokwiowo-płatwiowa bez kleszczy.
Napisałem, że: w klasycznej więźbie płatwiowo-kleszczowej, kleszcze stosuje się przy słupach podpierających płatew. Słupy, kleszcze i krokwie tworzą wówczas płaszczyznę wiązarów pełnych. W miejscach, w których nie ma słupów, nie występują kleszcze. Te wiązary nazywa się pustymi.
W związku z powyższym sugeruję abyś skontaktował się z konstruktorem, który zaprojektował Twój budynek i poprosił o wykonanie rysunku zamiennego przewidującego:
ustawienie krokwi wiązarów pełnych nad słupami,
wykonanie kleszczy tylko przy wiązarach pełnych,
usunięcie kolizji mieczy z kleszczami.
Sugeruję skontaktowanie się również z architektem i uzgodnienie z nim:
termoizolacji brzegowej,
elementów niwelujących liniowy mostek cieplny na styku ściany z płytą fundamentową.
W tym przypadku również poproś o rysunki zamienne.
P.S. Dziękuję za zamieszczenie rzutu więźby dachowej.
Przewody spalinowe powinny być oddalone od łatwo zapalnych, nieosłoniętych części konstrukcyjnych budynku co najmniej 0,3 m, a od osłoniętych okładziną z tynku o grubości 25 mm na siatce albo równorzędną okładziną - co najmniej 0,15 m. W Twoim przypadku przewód spalinowy przylega do drewnianej płatwi.
Jak chcesz to możesz mi podesłać na adres prywatny cały projekt do sprawdzenia.
Napisałem, że: w klasycznej więźbie płatwiowo-kleszczowej, kleszcze stosuje się przy słupach podpierających płatew. Słupy, kleszcze i krokwie tworzą wówczas płaszczyznę wiązarów pełnych. W miejscach, w których nie ma słupów, nie występują kleszcze. Te wiązary nazywa się pustymi.
W związku z powyższym sugeruję abyś skontaktował się z konstruktorem, który zaprojektował Twój budynek i poprosił o wykonanie rysunku zamiennego przewidującego:
Sugeruję skontaktowanie się również z architektem i uzgodnienie z nim:
W tym przypadku również poproś o rysunki zamienne.
P.S. Dziękuję za zamieszczenie rzutu więźby dachowej.
Przewody spalinowe powinny być oddalone od łatwo zapalnych, nieosłoniętych części konstrukcyjnych budynku co najmniej 0,3 m, a od osłoniętych okładziną z tynku o grubości 25 mm na siatce albo równorzędną okładziną - co najmniej 0,15 m. W Twoim przypadku przewód spalinowy przylega do drewnianej płatwi.
Jak chcesz to możesz mi podesłać na adres prywatny cały projekt do sprawdzenia.

