Dzień dobry,
bardzo proszę o opinię i poradę w sprawie zakupu drewna na budowę;
Dobry znajomy ma las i musi dokonać wycinki z powodu budowy linii wysokiego napięcia, ja zamierzam budować dom w przyszłym roku (lub później) i połączyła nas wspólna sprawa.
Będę miał drewno (sosna) w dowolnych wymiarach i kształtach oraz inne (świerk - altana, deskowanie, etc), będę miał tartak, który mi przetrze drewno.
Mam poniższe pytania do fachowców, cieśli, dekarza:
Jak najlepiej przechować drewno? Nie na ziemi, przekładane?
Czy mogę na dworzu?
Czym je okryć?
Jak długo mogę je trzymać?
Jak je zabezpieczyć chemicznie i jak często? Tartak może mi je zaimpregnować po starciu. Czy np co roku będę je musiał pryskać?
Czy muszę zwrócić na coś uwagę jeszcze?
Z góry dziękuję za odpowiedź.
Micheal
więźba dachowa, drewno na budowę z lasu
Moderator: Redakcja e-dach.pl
Re: więźba dachowa, drewno na budowę z lasu
Suszenie tarcicy wykonuje się w sposób naturalny (na placu zewnętrznym i w szopach) lub sztucznie, np. w suszarniach tunelowych lub komorowych.
Suszenie naturalne
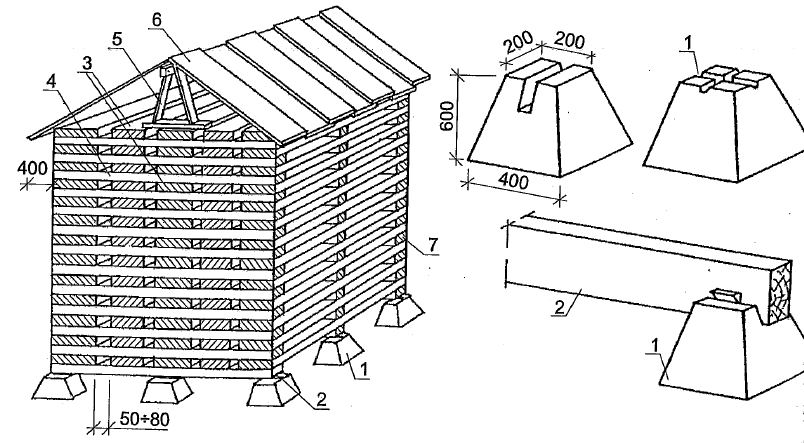
Suszenie na placu zewnętrznym pozwoli na uzyskanie wilgotności około 20% i trwa od kilku miesięcy do kilku lat, w zależności od rodzaju i wymiarów tarcicy. Przykładowy czas suszenia sosny i świerku o grubości 25 mm do wilgotności 20% wynosi od 60 do 200 dni. 1 – cokół betonowy, 2 – legar drewniany, 3- suszona tarcica, 4 – przestrzeń wentylacyjna 20-40 mm, 5 – konstrukcja przekrycia, 6 – przekrycie (daszek), 7 – deski.
Natomiast suszenie w szopie umożliwia na osiągnięcie przez tarcicę wilgotności około 12%.
Suszenie sztuczne znacznie skraca czas suszenia. W suszarniach wysokotemperaturowych cykl suszenia tarcicy do wilgotności 12% osiąga się w około 6 godzin. W suszarniach normalno-temperaturowych cykl ten trwa od 1 doby do kilku dni.
Impregnacja
Rozróżnia się impregnację powierzchniową lub głęboką.
Impregnacja powierzchniowa (np. preparatami z grupy FOBOS) to:
smarowanie powierzchni tarcicy wodnymi roztworami soli lub środkami oleistymi,
natrysk,
kąpiele krótkotrwałe w roztworze soli grzybobójczych lub preparatów oleistych.
Impregnację głęboką wykonuje się metodą próżniowo-ciśnieniową lub przez długotrwałe kąpiele (trwające kilka dni).
Optymalnie jeśli drewno lite będzie miało w chwili montażu wilgotność u<20% (np. od 12 do 18%)
Pytasz - Czy muszę zwrócić na coś uwagę jeszcze?
Zdaję sobie sprawę, że być może pisząc te słowa "wsadzam kij w mrowisko", niemniej jednak czytałem dane, że tylko kilka procent tartaków jakie działają w kraju wdrożyło procedury ZKP w swoich zakładach i zdobyło prawo znakowania tarcicy znakiem CE. Tarcica do wykonywania konstrukcji więźby dachowej powinna posiadać znak CE i posiadać klasę nośności zgodną z projektem budowlanym.
Niestety większość dostawców otwiera szeroko oczy gdy żąda się od nich DWU klasy jakości sortowania przez brakarza i oznaczeń na dostarczanej tarcicy zgodnie z CE.
Suszenie naturalne
Suszenie na placu zewnętrznym pozwoli na uzyskanie wilgotności około 20% i trwa od kilku miesięcy do kilku lat, w zależności od rodzaju i wymiarów tarcicy. Przykładowy czas suszenia sosny i świerku o grubości 25 mm do wilgotności 20% wynosi od 60 do 200 dni. 1 – cokół betonowy, 2 – legar drewniany, 3- suszona tarcica, 4 – przestrzeń wentylacyjna 20-40 mm, 5 – konstrukcja przekrycia, 6 – przekrycie (daszek), 7 – deski.
Natomiast suszenie w szopie umożliwia na osiągnięcie przez tarcicę wilgotności około 12%.
Suszenie sztuczne znacznie skraca czas suszenia. W suszarniach wysokotemperaturowych cykl suszenia tarcicy do wilgotności 12% osiąga się w około 6 godzin. W suszarniach normalno-temperaturowych cykl ten trwa od 1 doby do kilku dni.
Impregnacja
Rozróżnia się impregnację powierzchniową lub głęboką.
Impregnacja powierzchniowa (np. preparatami z grupy FOBOS) to:
Impregnację głęboką wykonuje się metodą próżniowo-ciśnieniową lub przez długotrwałe kąpiele (trwające kilka dni).
Optymalnie jeśli drewno lite będzie miało w chwili montażu wilgotność u<20% (np. od 12 do 18%)
Zdaję sobie sprawę, że być może pisząc te słowa "wsadzam kij w mrowisko", niemniej jednak czytałem dane, że tylko kilka procent tartaków jakie działają w kraju wdrożyło procedury ZKP w swoich zakładach i zdobyło prawo znakowania tarcicy znakiem CE. Tarcica do wykonywania konstrukcji więźby dachowej powinna posiadać znak CE i posiadać klasę nośności zgodną z projektem budowlanym.
Niestety większość dostawców otwiera szeroko oczy gdy żąda się od nich DWU klasy jakości sortowania przez brakarza i oznaczeń na dostarczanej tarcicy zgodnie z CE.
Re: więźba dachowa, drewno na budowę z lasu
Z wykonaniem domów szkieletowych pracuje między innymi firma Jonda. Kompleksowa oferta jeśli chodzi o takie konstrukcje i ich wykonanie od A do Z pod oczekiwania konkretnego klienta i jego indywidualne potrzeby.
Re: więźba dachowa, drewno na budowę z lasu
Jestem tego samego zdania.


